索结构的表现形式
根据受力特点可分为刚性和柔性索结构:
刚性索结构在荷载作用下满足小变形假定,如斜拉结构、张弦结构(弦支穹顶)、预应力网格结构、索拱结构、索托结构等;

根据受力特点可分为刚性和柔性索结构:
柔性索结构的计算分析必须考虑几何非线性效应,各项荷载效应之间不再满足线性叠加原则,如悬索结构(单索结构、索网结构、双层索系、横向加劲索系)、索穹顶等。

索结构节点类型:
端头连接:螺栓锚固、螺栓接长、耳板销轴
中间连接:夹紧、转向、滑动

按索节点的连接功能分类:
张拉节点、锚固节点、转折节点、交叉节点、索杆节点
按索节点的连接作用分类:
索与索的连接、索与刚性构件连接、索与支承构件连接、索与围护结构连接
索与索的连接
同向拉索中间连接张紧

双向拉索的连接

拉索与柔性边索的连接

同向拉索中间连接张紧
双向拉索的连接
拉索与柔性边索的连接
同向拉索在中间节点改变方向

平面内不同方向拉索之间连接

索与刚性构件连接
拉索与横向加劲桁架下弦连接

撑杆与下弦拉索的连接

拉索与横向加劲桁架下弦连接
撑杆与下弦拉索的连接
斜索与刚性节点连接

撑杆上节点连接多个方向脊索

索与支承构件连接
拉索与钢混支承构件连接

拉索与支承钢柱或钢梁连接

径向拉索与支承钢环梁连接

索与围护结构连接
拉索与钢檩条

拉索与玻璃

节点的含义
影响钢结构建筑中节点形式的因素有很多,节点的分类较为复杂,根据连接件的位置关系,节点可分为:搭接节点、平接节点、角接节点、对接节点等(如图9所示);根据节点的连接工艺不同可分为:焊接节点、铆接节点、螺栓连接节点、销栓连接节点、胶结连接节点等(如图10所示)。

图9 根据连接件位置而定的节点分类

图10 根据连接工艺而定的节点分类
钢结构建筑中的节点根据其所起到的作用不同,大体可分为结构性节点和构造性节点。结构性节点是结构构件之间连接的节点,是建筑结构中力的集中点与传递点,起到完成各构件之间力的传递的作用,体现着各构件之间的稳定性和受力平衡,如:杆件与杆件之间的连接、索与索之间的连接、杆件与索之间的连接、构件与支座之间的连接等(如图11所示)。节点处的不同构件受力方式不同,拉力、压力、剪力等不同形式的力都反映在节点处,节点将这些力连接成一个整体,形成一个个视觉焦点,压力在节点处往往雄健有力,增加空间的力量感,而拉力则轻盈明快,给空间增添活跃感(如图12所示)。约翰内斯堡体育馆采用了一种悬挂结构,节点连接了拉索与平衡杆(如图13所示),节点处拉索通过平衡杆处的封板将拉力转化为压力,节点部位的加劲肋增加了节点的刚度和强度,实现了力的平衡。图中拉索显然承受很大的力的作用,维持受力平衡的节点显得强劲有力,体现出节点作为结构构件的力学美[4]。以同济大学B楼中庭大厅的屋顶为例(如图14所示),采用四角锥体系网架结构,支撑起大跨度空间的覆顶,采用螺栓球节点(如图15所示),具有节点部位没有偏心、受力状态好等优点。

图11 结构性节点

图12 节点的视觉焦点

图13 约翰内斯堡体育馆采用的悬挂结构

图14 同济大学B楼中庭大厅的屋顶

图15 螺栓球节点
构造性节点,连接的是钢结构建筑的附属功能构件与结构构件,是皮与骨的连接,节点处不同的材质有着不同的肌理变化和材料质感,如钢材与玻璃、钢材与膜材等,这些不同的材料在节点处形成强烈的对比,展现出各种材料的冲突,节点使这些材料在冲突中形成一种和谐、稳定的关系,突出不同材料的交融(如图16所示)。以玻璃幕墙与受力构件之间的连接为例(如图17所示),玻璃幕墙与结构构件之间的连接方式较为多样,如明框式玻璃幕墙构造、隐框半隐框玻璃幕墙构造、全玻式玻璃幕墙构造、点支玻璃幕墙构造等。例如上海当代艺术馆的玻璃幕墙即采用点支玻璃幕墙构造,“每块玻璃的四个角分别由不锈钢支撑爪件作四点固定,在支撑爪件背后设有11mm的钢索系统纵横绷紧固定[5]”,如图18所示。这种点支玻璃幕墙更强调玻璃的通透性,使得建筑外立面更具特色、内部空间更显开敞。正是由于节点构造的不断进步才更好地展现了不同材料的特征与性能。

图16 构造性节点

图17 玻璃幕墙与受力构件之间的连接

图18 上海当代艺术馆的玻璃幕墙即采用点支玻璃幕墙构造
索结构的设计原则
综合考虑建筑外观、节点传力方式并结合节点锚具和索体类型等进行概念设计,确定节点连接形式,然后对节点进行具体构造设计。
按相关标准选用索结构节点的材料(热轧钢、铸钢、高强螺栓副、销轴、关节轴承、焊接材料、涂装材料等)。
节点的构造应与计算假定相符,传力路线简捷明确、安全可靠,构造简单合理并便于制作、安装、索力调整和维护,经济性好。
节点的强度(含局部承压强度)、刚度、变形和受压板件的稳定性应满足国家标准《钢结构设计标准》、《索结构技术规程》、《预应力钢结构技术规程》、《铸钢结构技术规程》的规定。
节点的承载力设计值应不小于拉索内力设计值的1.25~1.5倍。
主要受拉节点焊缝质量等级应为一级,其它焊缝质量不低于二级。
对采用新材料或新工艺的重要、复杂节点,可根据节点实际受力状态进行足尺或缩尺模型的检验性试验(最大内力设计值的1.3倍)或破坏性试验(最大内力设计值的2.0倍)。
根据环境条件、材质、结构形式、使用要求、施工条件和维护管理条件等进行节点的防火与防腐设计。
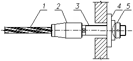
螺杆连接节点设计
螺杆连接节点的多种形式:
拉索接长

索端锚固
螺杆本身是锚具

通过锚箱转换连接


不同承压位置

设球铰等转动装置,释放因大变形引起的端部弯矩

螺杆连接节点设计的一般要求
⊙螺杆连接中螺杆是索体的一部分时,螺杆与索按照等强设计;其他情况下螺杆承载力设计值应按照索拉力设计值的1.25~1.5倍选取。
⊙螺杆承载力计算时应考虑螺纹对螺杆截面削弱的影响。
⊙应采用双螺母、螺母加弹簧垫片、螺母下设置止动垫圈、螺栓上设置开口销、自锁螺母等方式防止螺母松动。
⊙多螺杆连接设计时应考虑合理的张拉顺序,确保多根螺杆受力均衡。
⊙螺母应紧固牢靠,外露丝扣不应少于两扣;对于索-索螺杆连接,应确保螺杆拧入锚具内的螺纹长度不小于10倍螺距。
⊙张拉时要对张拉工装进行专门设计,防止张拉过程中螺杆承受弯矩。
螺杆连接节点的承载力验算
螺纹验算 螺纹是螺杆连接的关键部位,一般由生产单位进行专门设计。
内螺纹弯曲应力验算:

内螺纹剪应力验算:

外螺纹弯曲应力验算:

外螺纹剪应力验算:



接触面局部承压验算
由于锚具端头较螺杆直径大,索体要穿过支承部位就需要预留较螺杆直径更大的孔洞,使得螺母与锚固体接触面较小,导致局部压力很大。

支承构件冲切(剪切)验算
若支承结构构件(钢板、混凝土板)较薄时,还容易发生冲切(剪切)破坏。

有限元分析
螺杆连接节点常在节点连接域设置加劲板、隔板等,使得节点连接域构造较为复杂。对于索力大、节点构造复杂的螺杆连接节点,应建立有限元模型进行分析。
*以上验算分别按照现行《混凝土结构设计规范》、《钢结构设计标准》进行
索夹节点的定义与构成
索夹节点是连接索体和相连构件的一种不可滑动的节点。
一般包括主体、压板和高强螺栓。
主体直接与非索构件相连,压板通过高强螺栓与主体相连,通过高强螺栓的紧固力使主体和压板共同夹持住索体。

* 形式多样,名称多样:夹具、铸钢夹具、U形夹、螺栓夹具、钢板夹具、索球、索瓦、前压块、后压块、索压块等等。



相关资讯
